Honda regista patente de sistema de baterias removíveis para moto elétrica

O maior fabricante mundial de motos registou uma patente que mostra como será o sistema de baterias removíveis da sua moto elétrica. Será que é desta que a Honda vai anunciar a versão elétrica da icónica Super Cub?

andardemoto.pt @ 3-8-2020 17:14:53

11 anos depois de apresentar ao mundo uma Super Cub elétrica no Salão de Tóquio 2009, então em formato conceptual, a Honda Super Cub elétrica volta ao nosso radar depois de um conjunto de esquemas de patente terem vindo a público.

A patente de uma “Estrutura de Bateria para Veículos Elétricos” foi pedida por parte da Honda já em 2018, mas só agora, dois anos depois, é que a entidade Norte-Americana que gere os pedidos de patente a tornou pública.

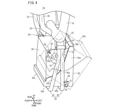
Nos esquemas que acompanham o registo desta patente, a moto apresentada é a icónica Super Cub. Desde 1958 a Honda já vendeu mais de 100 milhões da Super Cub nas mais diversas variantes, e tendo em conta o “concept” de 2009, não deixa de ser interessante percebermos que a marca japonesa continua a utilizar a Super Cub para tecnologia de motos elétricas.



No entanto, e apesar da ideia de podermos vir a ter uma Super Cub elétrica ser bastante tentadora, a verdade é que o sistema de fixação da bateria à moto é o que realmente interessa nesta patente agora registada.

A Honda pretende tornar a utilização de uma moto elétrica o mais simples possível. E todos sabemos que quem não tem uma garagem ou um local para carregar a bateria da moto elétrica, vai sentir muitas dificuldades em viver com um veículo deste género.

Tal como outras motos elétricas já oferecem, nomeadamente as scooters mais citadinas, também a possível Honda Super Cub elétrica irá permitir a remoção da bateria, com o proprietário da moto a poder levar a bateria para casa, facilitando então o carregamento.



O ponto mais interessante do desenho da Honda é a colocação da bateria mais abaixo no conjunto, precisamente por debaixo do quadro da Super Cub.

Para remover a bateria, apenas será necessário abrir o compartimento que deixa então a bateria visível e tornado assim possível ser removida. O sistema de bateria removível da Honda vai mais longe em termos de simplicadade de funcionamento: o utilizador não tem de ligar / desligar cabos ou terminais à bateria! Apenas tem de remover ou encaixar a bateria no compartimento.

Se a bateria removível é, já por si, uma grande mais-valia em termos de facilidade de carregamento, a ideia da Honda em colocar a bateria mais abaixo no conjunto oferece ainda mais vantagens.

Ao contrário das scooters que têm a bateria debaixo do assento, e por isso perdem capacidade de arrumação de baixo do assento, a Super Cub elétrica com bateria removível, embora tenha sempre pouco espaço debaixo do assento, garante que o utilizador pode transportar alguns objeto nesse espaço.



Outra vantagem notória desta opção é ao nível do comportamento dinâmico.

Colocar a bateria mais perto do solo vai baixar o centro de gravidade da moto. Sabendo que a bateria de uma moto elétrica costuma ser o componente mais pesado, o seu posicionamento torna-se vital para garantir um comportamento dinâmico agradável. No caso da Honda Super Cub elétrica, isso não será problema, pois a bateria está bastante perto do asfalto.

Mas será que a Honda vai mesmo produzir a Super Cub elétrica?

É difícil dar uma resposta a esta pergunta. Primeiro, a Honda, tal como muitos outros fabricantes de grande volume, parece estar interessada em entrar no mundo das motos elétricas mas ao mesmo tempo revela alguma lentidão na concretização dos seus projetos.

Basta pensar que a “concept” Super Cub elétrica foi apresentada há 11 anos e até agora não se ouviu mais nada sobre ela.

E segundo, a patente agora tornada pública não se refere especificamente à moto em si, mas sim ao sistema de bateria removível. Significa isto que a Honda está a estudar a hipótese de usar algo deste género numa moto elétrica, mas poderá não ser obrigatoriamente uma Super Cub elétrica.

Como em tantas outras situações semelhantes, apenas o tempo dirá se teremos no futuro uma Honda Super Cub elétrica. Mas tendo em conta a popularidade e estatuto deste modelo, seria de certeza uma opção popular entre os motociclistas que procuram uma moto elétrica urbana e com uma imagem muito particular.

andardemoto.pt @ 3-8-2020 17:14:53


Clique aqui para ver mais sobre: MotoNews